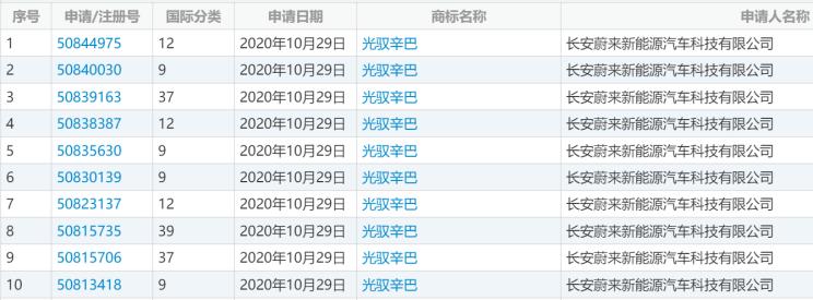
新产品?长安蔚来注册“光驭”等商标

[本站 资讯]  近日,我们在国家知识产权局中国商标网上查询发现,长安蔚来新能源有限公司(…

新轿车替代 吉利远景等车型将于2月停产

[本站 资讯]日前,有媒体报道称,吉利远景、远景X3等车型或将在2月中旬左右停产,远景系列将仅保留远景X6一款…

定名Integra?广本“思域”或年底投产

[本站 资讯]  日前,本站从相关渠道获悉,全新一代思域的广汽本田国产版本车型或将被命名为“Inte…

全新科尔维特Z06将于2021年7月首发亮相

[本站 资讯]  近日,我们从外媒获悉,全新科尔维特Z06(C8)或将于2021年7月份正式首发亮相…

3季度交付 岚图FREE正式进入批量试生产

[本站 资讯]  1月28日,岚图FREE正式进入批量试生产,将以完整的全工艺量产模式进行批量试生产…

配8英寸中控屏 五菱征途内饰官图发布

[本站 新车官图]  日前,我们从官方获取到了五菱征途的内饰官图。新车将在2月2日开启盲定…

预售17.30万起 北京BJ40刀锋英雄版亮相

[本站 新车首发]1月28日,北京BJ40刀锋英雄版正式亮相,新车基于现款车型打造而来,并针对配置等…

升级智能配置 新款丰田汉兰达配置调整

[本站 资讯]  近日,我们从丰田官方获悉,2021款丰田汉兰达在部分车型配置方面进行了优化调整,但…

野性十足 长城炮黑弹版于上海车展预售

[本站 资讯]  日前,我们从相关渠道获悉,长城炮黑弹版将于上海车展开启预售,在此之前,该车已于20…

黑橙配色亮眼 凯翼炫界Pro内饰设计草图

[本站 资讯]  近日,我们从相关渠道获得一组凯翼旗下全新SUV内饰预告图,其布局简洁并搭配了黑橙撞…

中大型SUV新选择 福特领裕实车图曝光

[本站 国内谍照]  日前,我们获得了一组江铃福特全新SUV车型领裕的实车图,该车是江铃福特的第三款…

2月2日开启盲订 五菱“越境征途”亮相

[本站 新车首发]  1月25日,五菱汽车首次发布了一款名为“激浪征途”的官方改装皮卡,并在随后发布…